牛开丰稔景,燕舞艳阳天。3月“UDI服务公益平台”在中国医疗器械信息网正式上线啦。该平台将为医疗机构提供UDI对码、数据诊断等重要功能,让医疗器械产品拥抱数字化时代!

用户打开中国医疗器械信息网(http://www.cmdi.org.cn/)首页,然后点击“UDI服务公益平台”,或直接在浏览器输入网址http://udi.cmic.com.cn/udi,实现一键直达。用户注册后就可以使用平台。

2019年7月,国家药监局会同国家卫生健康委联合印发《医疗器械唯一标识系统试点工作方案》,拉开我国医疗器械唯一标识系统建设序幕。随着医疗器械唯一标识工作的推进,许多大型医疗机构积极推动UDI实施,有效提升了院内耗材管理信息化、精细化水平,减少了用械差错。经实践发现,医疗机构在实施UDI时,首先要面临院内耗材自有编码与国家UDI数据库DI码的对码工作。UDI服务公益平台针对这一难题,为医疗机构提供对码服务,加速医疗机构UDI的导入与应用实践。同时,平台还提供数据诊断和资质管理功能,帮助医疗机构强化基础数据标准化管理。
UDI服务公益平台有哪些功能,具体如何操作,下面有请两位人物登场,为您一一进行介绍吧。

牛大哥:某医院设备科主管

数小妹:UDI服务公益平台运营专员
UDI对码
牛大哥:数小妹,UDI服务公益平台上线了,我们医院应该怎么使用啊?
数小妹:注册登录平台后,第一种方式是,从国家UDI数据库里直接选取自己需要的数据,“保存为我的UDI数据”,在弹出窗口中可补充计量单位等字段信息,完成后点击“保存”,之后便可在“我的UDI数据”模块下查看或导出数据,导出后就直接可以去应用这些UDI数据哦。


牛大哥:除了直接下载导出数据外,是不是还有一种数据上传比对的办法?
数小妹:对,数你牛大哥聪明。第二种方式是,医院可通过系统提供的excel模板把想要对码的数据导入到平台上,平台会通过大数据分析、模糊计算等多种算法,进行数据比对,为您呈现不同匹配度的分析结果。不完全匹配的原因可能是国家局数据库里还没有这些产品的DI数据,或者是医院的数据字段不标准,需要进行规范化的转换。


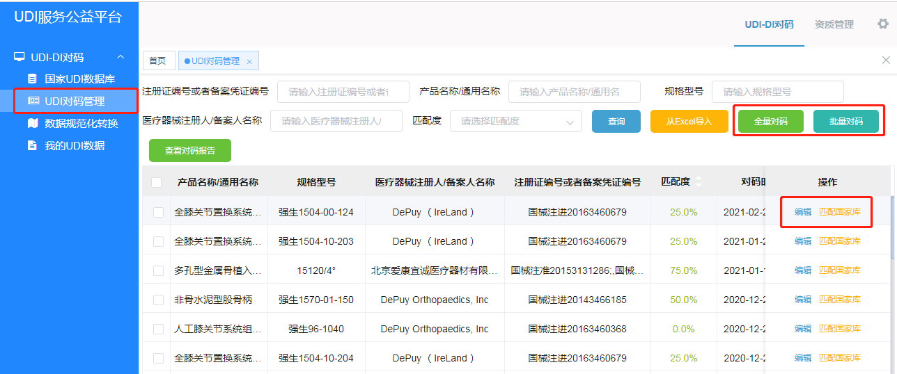
牛大哥:数小妹你真是数据达人啊。再介绍一下UDI对码的入口在哪里吧?
数小妹:UDI对码的入口多着呢,点击菜单左侧“UDI对码管理”,导航栏直接有“全量对码”、“批量对码”,选中需要对码的数据后直接点击就能对码;另外,导入的每条数据,都可通过“编辑”或者“匹配国家库”等操作,实现对单条数据的DI对码。

牛大哥:对码后发现明明是同一个产品,但是没有达到100%匹配的数据咋办呀?
数小妹:你看一下以下图中的例子,有三个字段数据都有问题,一种选择是按照国家UDI库的数据手动修改完善医院数据。但如果仍想延用医院原有的数据信息,也可直接点击“确认DI”,便可以在保留医院原有数据不变的情况下直接获取DI码。

数据诊断
牛大哥:听说平台可以对数据进行自动诊断?还能用到国家药监局权威的注册数据库?
数小妹:是的。数据对码之后,非100%匹配度的数据,都会同步到“数据规范化转换”这个界面来。点击数据诊断,对照国家药监局的注册数据库、国药器械主数据库、UDI平台数据库这三大数据库,把医院数据转换为规范的数据,然后重新利用UDI对码管理功能进行对码。


牛大哥:数小妹,对完码的数据在哪里导出啊?
数小妹:平台登录后,在左侧菜单栏里,找到“我的UDI数据”模块,可以导出数据,再去医院的信息系统做DI应用。

资质无忧
牛大哥:听说还有一个“资质无忧”服务,“长”在系统什么地方啊?
数小妹:平台登录后首页的右侧,有供应商资质效期、医疗器械产品效期这两大预警。
医院可以在资质管理模块里审核资质,平台分别在三个月,一个月,两周效期自动预警。

牛大哥:感谢数小妹的指导,给你点个大大的赞!
数小妹:牛大哥客气了,对于平台使用有任何问题可通过平台下方的联系电话010-84438357进行咨询,希望UDI服务公益平台能让你的工作气壮如牛!